ART Pro Audio USB Phono Plus - Project Series User Manual

Page 13

Advertising
background image

13

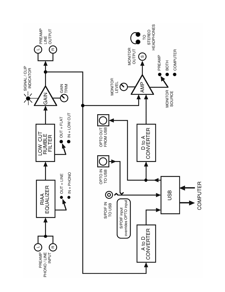
USB PHONO PLUS BLOCK DIAGRAM AND SIGNAL FLOW:

Advertising