Manuals
Directory
ManualsDir.com
- online owner manuals library
Search
Directory
Brands
Boyertown manuals
Kiln
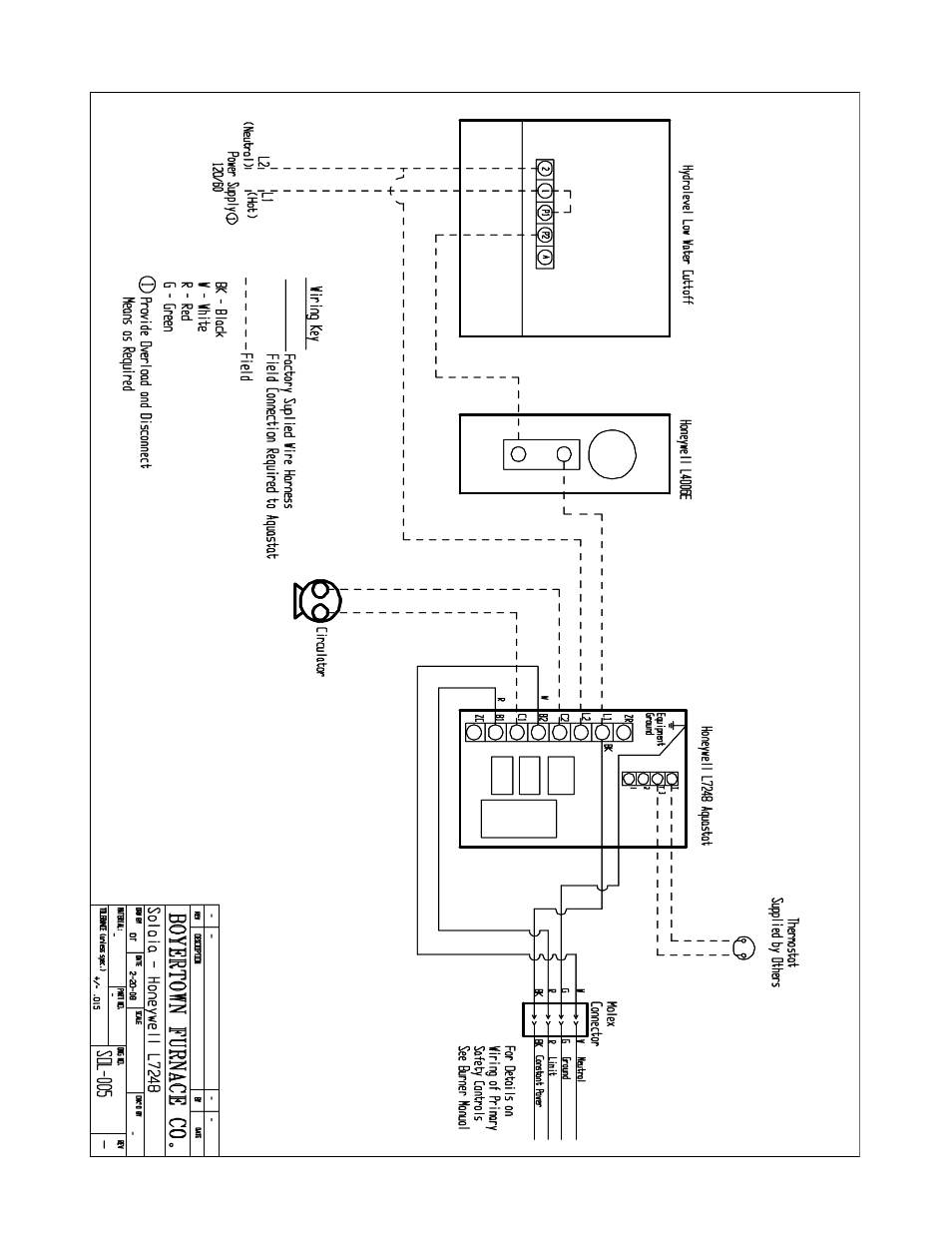
Solaia CSL6230 - CSL12590 Cast Iron Boiler
Manual
Boyertown Solaia CSL6230 - CSL12590 Cast Iron Boiler User Manual
Page 19
Text mode
Original mode
Advertising
19
19
Share
Pages:
1
…
17
18
19
20
21
…
28
Download
Complain
wrong Brand
wrong Model
non readable
Advertising
See also other documents in the category Boyertown Kiln:
Regal Star
(32 pages)
Regal Star
(36 pages)
nrgMax Universal Oil Control V4.0
(14 pages)
Solaia Bypass Kit Piping
(1 page)
Solaia Double Wall Direct Vent Kit
(8 pages)
Cox Heating Products Commercial Furnace
(12 pages)