Rear view (ami200-953) – IBASE AMI200 User Manual

Page 14

Advertising
background image

14

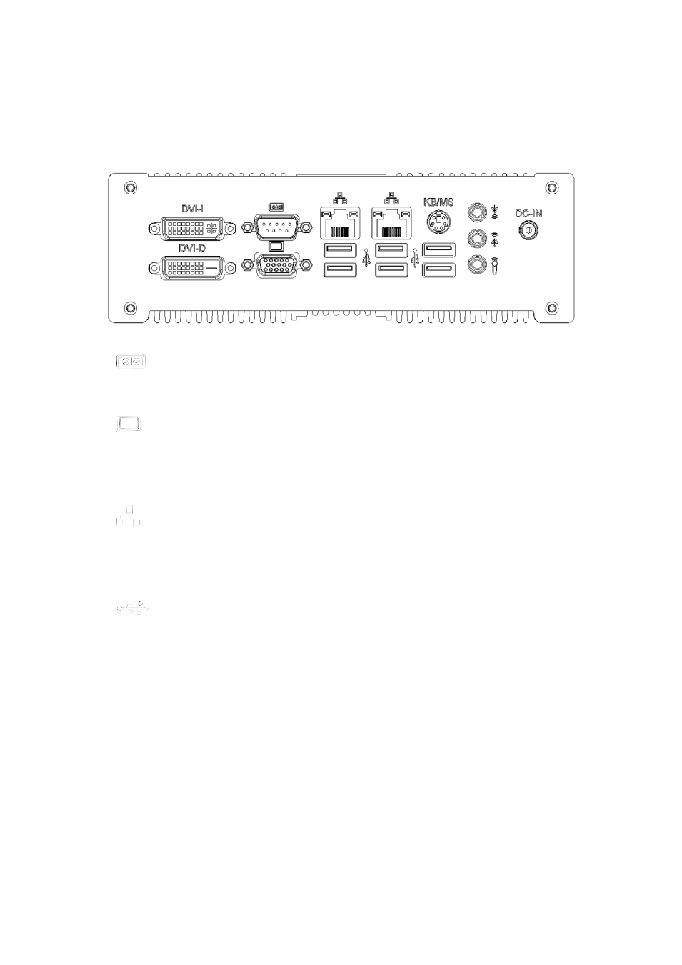
Rear View (AMI200-953)

Refer to the diagram below to identify the components on this side of the system.

COM1, Communication or serial port one is compatible with RS-232 interface.

Video Graphic Array (VGA) port supports a VGA-compatible device such as a

monitor or projector. The system default display output port.

The eight-pin RJ-45 LAN port supports a standard Ethernet cable for connection

to a local network.

The USB (Universal Serial Bus) port is compatible with USB devices such as

keyboards, mouse devices, cameras, and hard disk drives. USB allows many

devices to run simultaneously on a single computer, with some peripheral acting

as additional plug-in sites or hubs.

KB / MS

The PS/2 keyboard port is use to connect PS/2 compatible devices such as

keyboard, MSR and scanner. The PS/2 mouse port is use to connect PS/2

mouse.

Advertising
This manual is related to the following products: