Manuals
Directory
ManualsDir.com
- online owner manuals library
Search
Directory
Brands
Osburn manuals
Hardware
AC01340
Manual
Osburn AC01340 User Manual
Page 13
Text mode
Original mode
Advertising
13
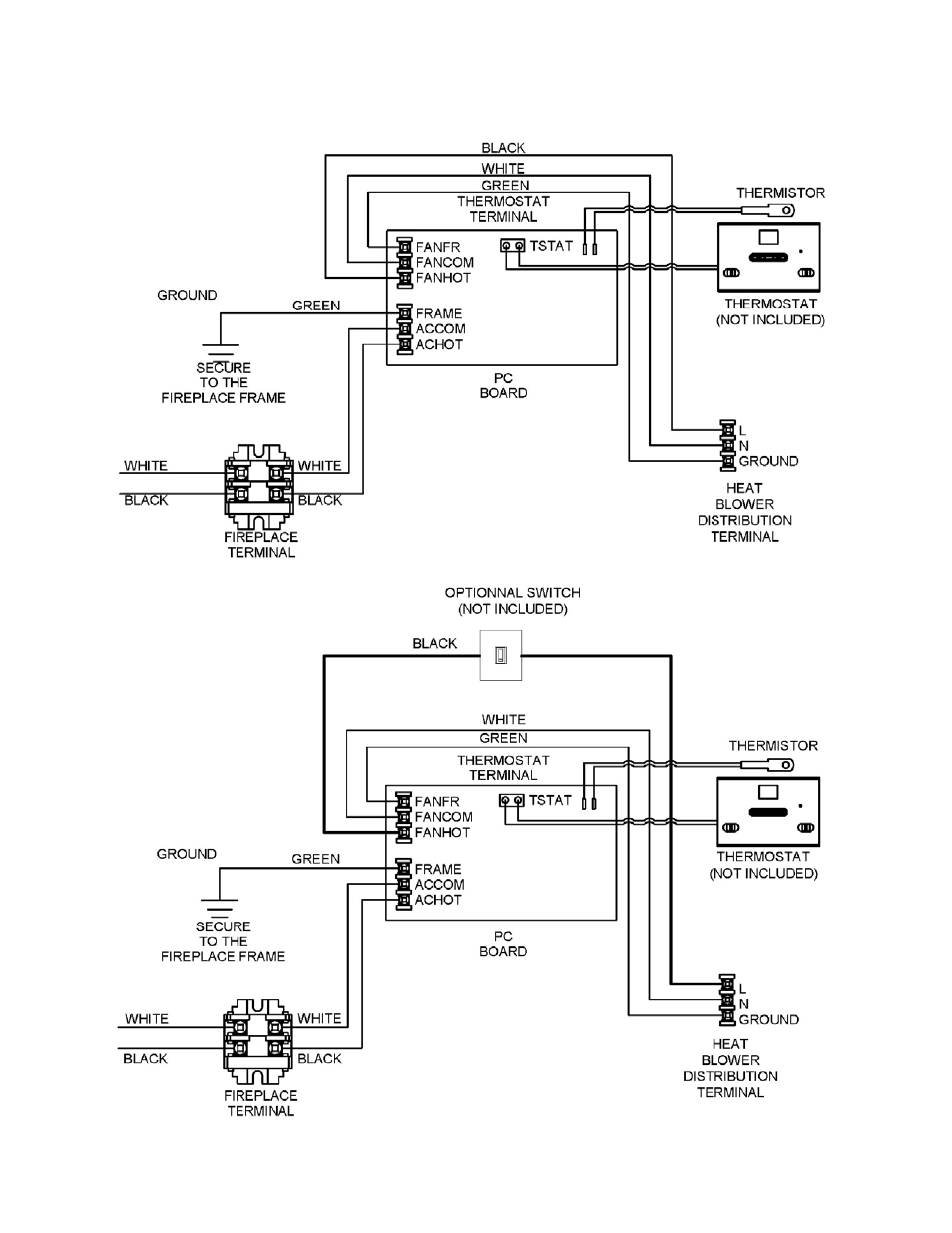
Figure 5
Figure 6
Share
Pages:
1
…
11
12
13
14
15
…
20
Download
Complain
wrong Brand
wrong Model
non readable
Advertising
See also other documents in the category Osburn Hardware:
AC01331
(2 pages)
AC01316
(8 pages)
AC01336
(8 pages)
AC01343
(10 pages)
AC02006
(11 pages)
AC02585
(16 pages)
AC02613
(6 pages)
AC02582
(12 pages)
OA10500
(4 pages)
AC02705
(7 pages)
1600
(5 pages)
AC07835
(12 pages)