Flash telecomandato senza fili (wireless), A. uso del flash incorporato – SIGMA ELECTRONIC FLASH EF-610 DG SUPER SO-ADI (ソニー用) User Manual
Page 66

65
◆
Per utilizzare nel modo migliore il pannello diffusore, ribaltare di 90° gradi in alto la testa del flash e
riprendere il soggetto da breve distanza.
FLASH TELECOMANDATO SENZA FILI (WIRELESS)
Usando il modo " flash a distanza senza fili" è possibile ottenere fotografie in cui i volumi del soggetto sono
messi in maggiore risalto da ombre appropriate. Ciò dipende dalla posizione dei flash. E' possibile
sistemare il flash nella posizione migliore grazie al collegamento a distanza che non richiede cavetti di
sincronizzazione. La comunicazione tra fotocamera e flash avviene, con il EF-610 DG SUPER SO-ADI,
grazie alla stessa luce del flash. In questo modo di funzionamento la fotocamera calcola automaticamente
la corretta esposizione.
◆
In queste pagine chiameremo il flash inserito nella fotocamera "
Flash principale
" e il flash staccato
"
flash esterno
".
◆
E' necessario fissare su di un treppiede il flash separato dalla fotocamera. Tutti i treppiedi posseggono
una vite da avvitare nel corrispondente foro filettato presente sulla base del flash.
◆
Attenzione a non mettere il flash nel campo inquadrato dall'obiettivo.
◆
Il flash può venire sistema a una distanza dal soggetto variabile tra 0,5 e 5 metri, anche la distanza
fotocamera/soggetto può variare da 0,5 a 5 metri.
◆
Se un altro fotografo usa un sistema di flash a distanza assieme a voi, può accadere che i vostri flash
emettano luce senza che li abbiate comandati. Ma in seguito al lampeggiare degli altri flash. In questo
caso è necessario impostare un canale di trasmissione diverso da quello impostato dall'altro fotografo.
A. USO DEL FLASH INCORPORATO
1. Impostare la fotocamera sulla modalità flash wireless
◆
Dal momento che il settaggio cambia, a seconda della fotocamera, consultare il libretto d’istruzioni
della medesima.
2. Impostare la modalità di esposizione su P, A, S, o M.
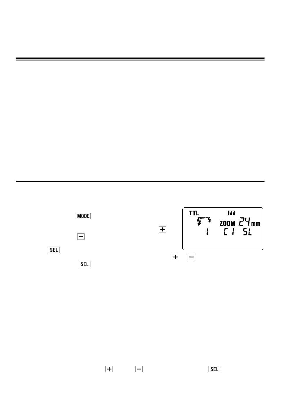
3. Premere il pulsante
del flash finchè compare il display
del flash esterno
4. Impostare il flash esterno sul n1 premendo il pulsante
5. Premere il pulsante
per importare la Modalità Flash TTL
6. Informazioni sul canale inizieranno a lampeggiare premendo il
pulsante
7. Impostare il numero del canale (C1-C4) premendo I pulsanti
o
8. Premendo il pulsante
la spia smetterà di lampeggiare
9. Inserire il flash nella slitta del corpo macchina e premere il pulsante di scatto a metà corsa (il
numero del canale settato verrà memorizzato nella fotocamera)
10. Staccare il flash dalla fotocamera e metterlo nella posizione desiderata
11. Estrarre il flash incorporato della fotocamera e assicurarsi che sia carico.
◆
Nel modo di funzionamento "flash a distanza" quando il flash è carico, l'illuminatore autofocus si
mette a lampeggiare.
12. Mettere a fuoco l'obiettivo.
◆
The EF-610 DG SUPER SO-ADI will fire when the built-in flash fires. The camera’s built-in flash is
fired only for control of the EF-610 DG SUPER SO-ADI. The illimunation of the subject is done by
the EF-610 DG SUPER SO-ADI. The camera will control the flash power as a TTL Auto flash, to
obtain the correct exposure.
◆
Secondo la velocità dell’otturatore, il flash passerà automaticamente dalla modalità normale a
quella ad alta velocità e viceversa
◆
Quando la modalità d’esposizione è impostata su M, funzionerà in wireless manuale.Dopo aver
impostato il numero del canale, inizierà a lampeggiare l’indicatore di potenza. Impostare la potenz
desiderata premendo il pulsante
oppure
e poi premere il pulsante
per far cessare il
lampeggiamento.