Especificações – SIGMA ELECTRONIC FLASH EF-610 DG SUPER PA-PTTL (ペンタックス用) User Manual
Page 134

133
3. Ligue a unidade de flash (ON), e pressione o botão de disparo da
câmara até meio Os valores da abertura e da sensibilidade são
então automaticamente transmitidos à unidade de flash escrava.
4. Retire da câmara a unidade de flash escrava.
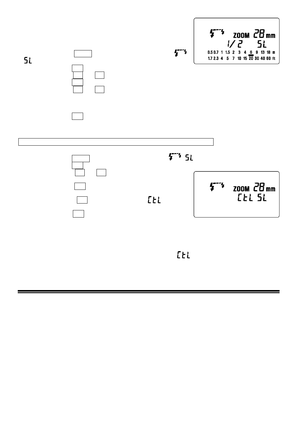
5. Pressione o botão MODE e seleccione o Modo Escravo
/
. (Slave Mode)
6. Pressione o botão SEL para que o indicador de canal comece a piscar.
7. Pressione o botão + ou – para definir o número de canal. (C1 ou C2)
8. Pressione o botão SEL para que o indicador de potência do flash comece a piscar.
9. Pressione o botão + ou – p ara definir a potência de flash.
◆
Defina a potência do flash parametrizando o indicador de distância no painel LCD, fazendo coincidir,
tanto quanto possível com a distância real do flash escravo ao tema. Se a distância estiver fora do
intervalo, precisa de mudar o valor da abertura do diafragma.
10. Pressione o botão SEL várias vezes para que o valor fique configurado (deixe de piscar).
11. Coloque a unidade escrava na posição desejada. Não coloque a unidade escrava dentro da área
da fotografia.
Definição da Unidade de Flash Controladora das Unidades Escravas
12. Prenda a unidade de flash controladora das unidades escravas ao corpo da câmara.
13. Pressione o botão MODE e seleccione o modo Escravo
/
(Slave Mode).
14. Pressione o botão SEL para que o indicador de canal comece a piscar.
15. Pressione o botão + ou – para definir o número de canal
igual ao da unidade de flash a disparar.
16. Pressione o botão SEL para que o indicador de quantidade de
potência comece a piscar.
17. Pressione o botão + para que o símbolo
apareça e
comece a piscar.
18. Pressione o botão SEL duas vezes para que o símbolo deixe de
piscar.
19. Depois de confirmar que todas as unidades de flash estão totalmente carregadas, pressione o
botão de disparo para tirar a fotografia.
◆
Quando a unidade de flash a disparar EF-610 DG Super estiver totalmente carregada, a luz auxiliar
AF estará a piscar.
◆
Como a unidade controladora das escravas está no modo
, o valor da abertura não pode ser
mudado nesta unidade.
◆
A unidade controladora funciona somente para controlar as unidades escravas.
ESPECIFICAÇÕES
TIPO : Flash eléctrico com zoom automático com medição TTL.
NÚMERO GUIA: 61 (ISO 100/m, para uma posição de cabeça a 105mm)
FONTE DE ENERGIA : Quatro pilhas do tipo alcalinas AA ou quatro pilhas do tipo Ni-Cd AA ou,
: Quatro pilhas do tipo Níquel-Metal-Hidreto Ni-MH AA
TEMPO DE RECARGA : cerca de 7 seg. (alcalinas)
: cerca de 5 seg. (Ni-Cd, Ni-MH Níquel-Metal Hidreto)
NÚMERO DE FLASHES: cerca de 120 flashes (pilhas alcalinas)
:cerca de 160 flashes (Ni-Cd, Ni-MH Níquel-Metal Hidreto)
DURAÇÃO DO FLASH: cerca de 1 / 700 seg. (disparo com potência total)
ÂNGULO DE ILUMINAÇÃO DO FLASH : 24mm~105mm com controlo motorizado
(17mm com Painel Largo Incorporado)
DESLIGAMENTO AUTOMÁTICO : Disponível
Peso : 330 g
DIMENSÕES : 77mm(Largura) x 139mm(Altura) x 117mm(Comprimento).