Manuals
Directory
ManualsDir.com
- online owner manuals library
Search
Directory
Brands
SVS manuals
Equipment
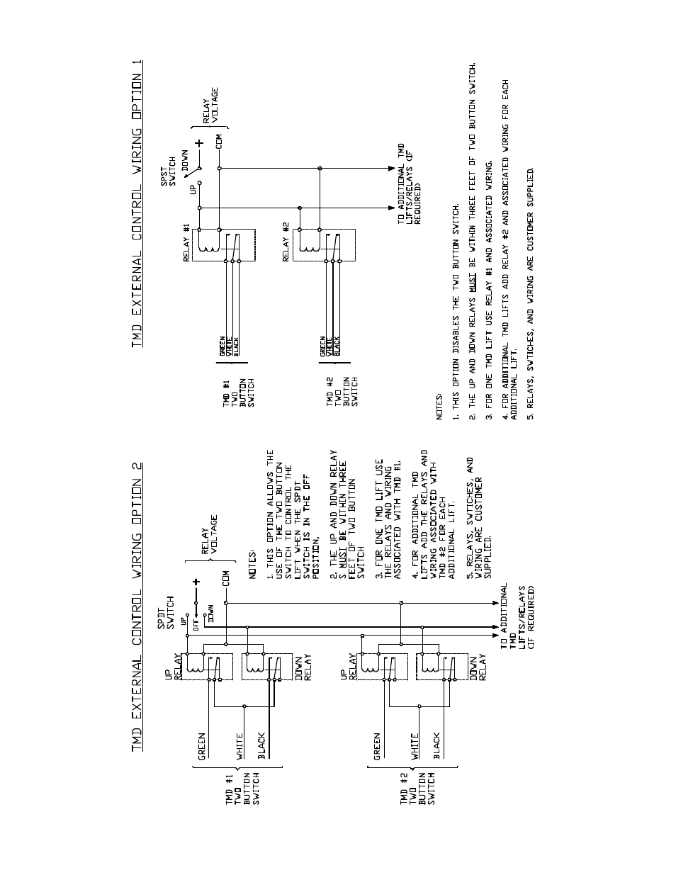
COLUMN LIFT
Manual
SVS COLUMN LIFT User Manual
Page 11
Text mode
Original mode
Advertising
Share
Pages:
1
…
9
10
11
12
13
14
Download
Complain
wrong Brand
wrong Model
non readable
Advertising
See also other documents in the category SVS Equipment:
MINI 4 2X2 220V
(16 pages)
4 110V
(17 pages)
12EX 110V
(18 pages)
7HSE 220V
(16 pages)
PLASMA ONE 4
(16 pages)
PLASMA ONE 7
(15 pages)
PLASMA TWO
(14 pages)
TMD
(17 pages)