Manuals Directory ManualsDir.com - online owner manuals library
Directory
Brands
Allmand Brothers manuals
Equipment
Allmand 8.5 10 FT BACKHOE
Manual

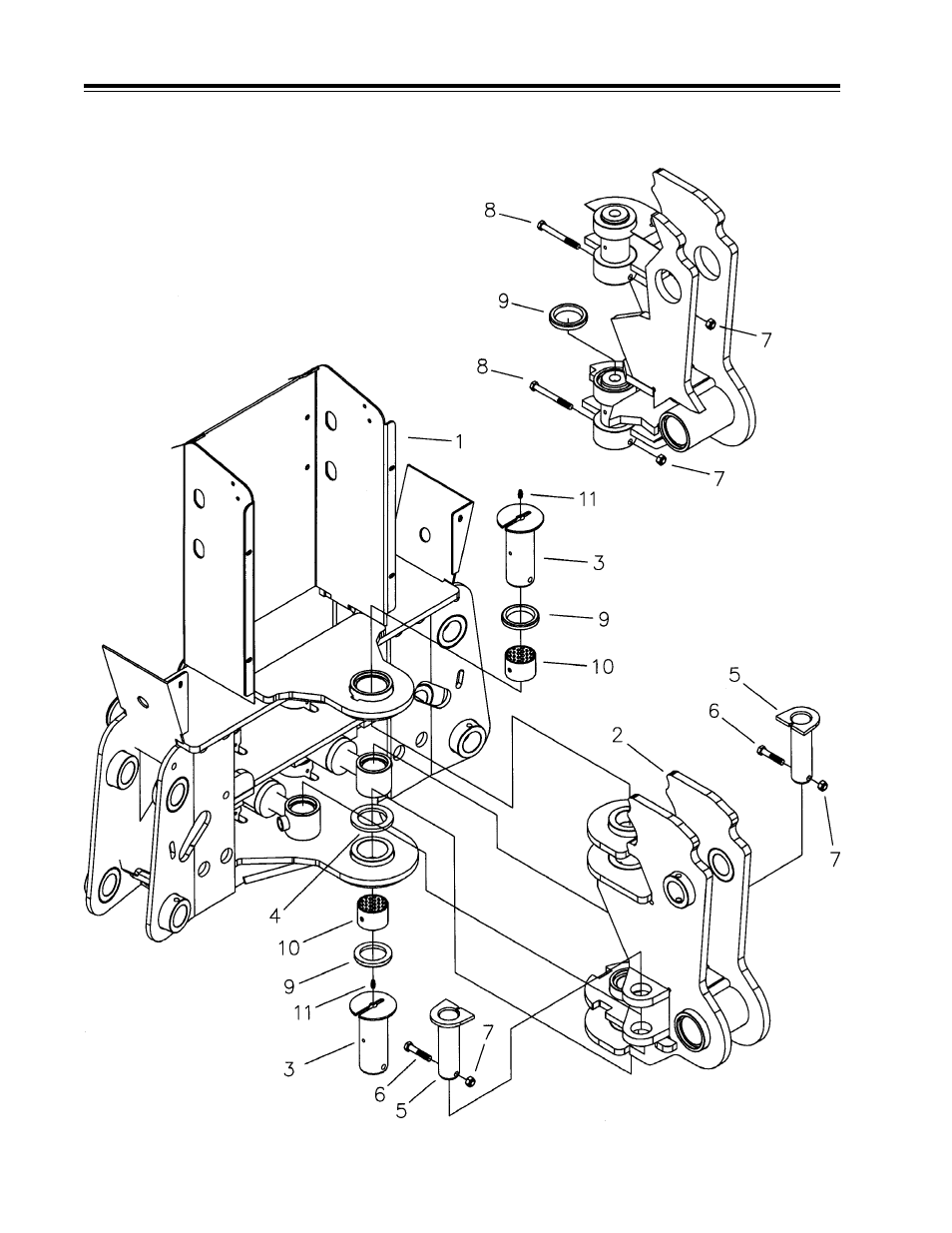
Main frame-swing post assembly – Allmand Brothers Allmand 8.5 10 FT BACKHOE User Manual

Page 10

  • Text mode
  • Original mode
Advertising
background image

52

MAIN FRAME-SWING POST ASSEMBLY

A-2A

Share
Pages: 1 … 8 9 10 11 12 … 31
Download
Complain
  • wrong Brand
  • wrong Model
  • non readable
Advertising
See also other documents in the category Allmand Brothers Equipment:
  • MH1000 IDF (46 pages)
  • MLEX20-30KW V (28 pages)
  • MLEX20-30KW V (41 pages)
  • I HYDRAULIC (26 pages)
  • 15-20 V - MLV15-20 HYDRAULIC (26 pages)
  • NL6330 (28 pages)
  • ML6-8 LD (87 pages)
  • ML15-20 LD (121 pages)
  • VSERIES HYDRAULIC (26 pages)
  • MB 6100 (76 pages)
  • 2220/SE (46 pages)
  • NL6330 (87 pages)
  • MINE SPEC (80 pages)
  • NIGHT LITE PRO LD (88 pages)
  • NIGHT LITE PRO LD (54 pages)
  • NL PRO II (174 pages)
  • NIGHT LITE PRO V (51 pages)
  • NIGHT LITE PRO V (67 pages)
  • NIGHT LITE PRO V (39 pages)
  • NIGHT LITE PRO II LD (10 pages)
  • NIGHT LITE PRO II V (13 pages)
  • PAL (14 pages)
  • PAL4000 (34 pages)
  • Allmand 7.5 FT BACKHOE (32 pages)
  • Allmand 8.5 10 FT BACKHOE (41 pages)
  • TLB 408 BACKHOE (93 pages)
  • TLB 509A BACKHOE (58 pages)
  • TLB 225 (51 pages)
  • TLB 225 (108 pages)
  • TLB25D (91 pages)
  • TLB25K (88 pages)
  • TLB6235 Tractor (42 pages)
  • TLB6235 Tractor (80 pages)
  • TLB35D (99 pages)
Home | About Us | Contact Us | ManualsDir DMCA Policy | Brands | Popular manuals | Recently added
Manuals Directory

© 2012–2025, manualsdir.com
All rights reserved.