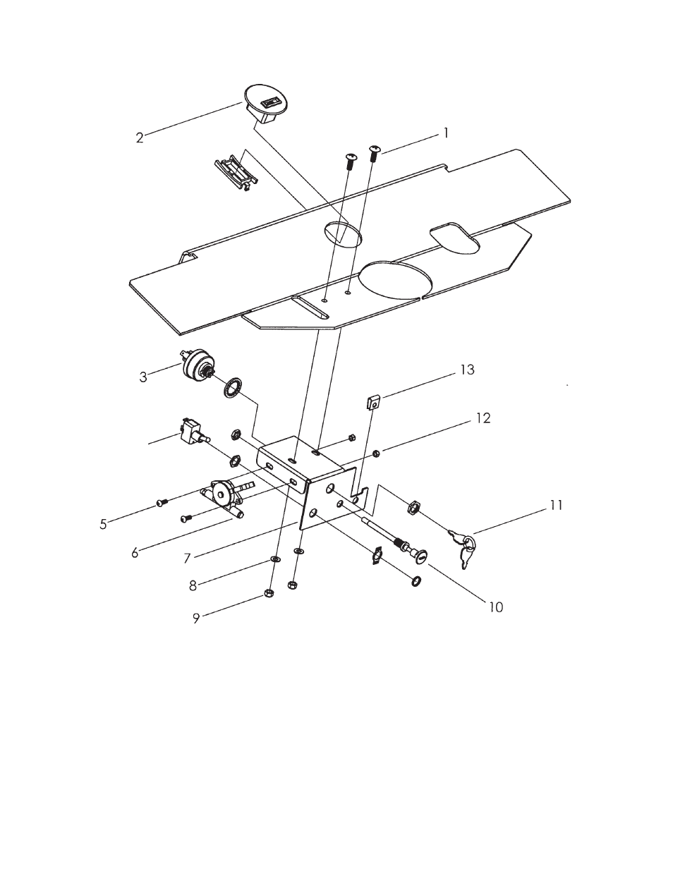
Instrument panel assembly – Allmand Brothers TLB 535 User Manual

Page 42

Advertising
background image

TLB 220, 225, 325, 425, and 535

P A R T S R E F E R E N C E

INSTRUMENT PANEL ASSEMBLY

A-21A

TLB 220, 325

4

Advertising
This manual is related to the following products: