Grass Valley TTN-BRS-3232 User Manual

Page 10

Advertising
background image

BRS-3232

Rev. 1


2

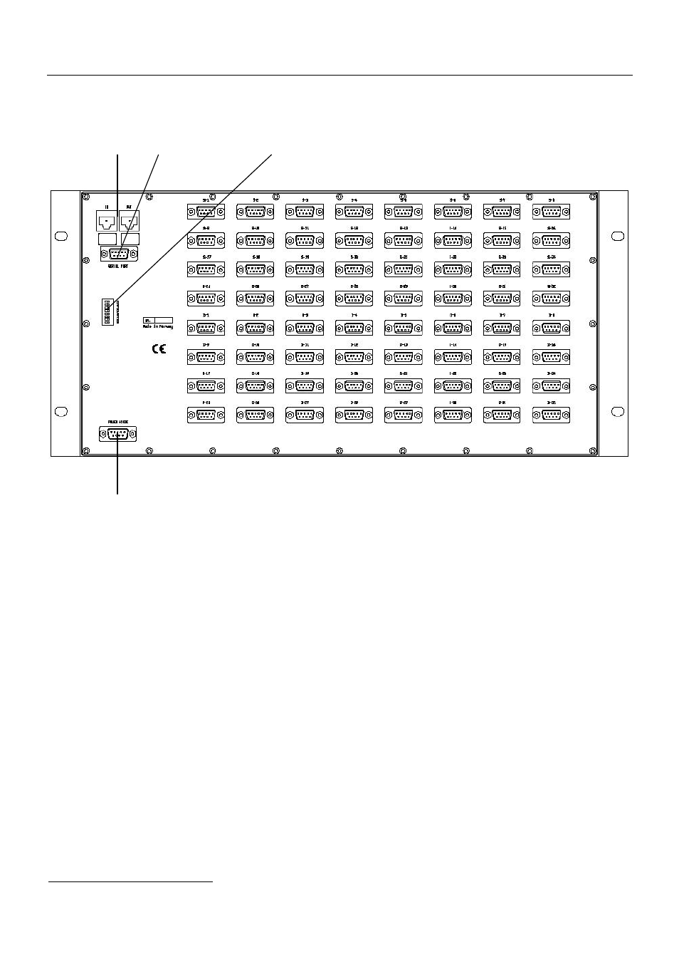
1.2.

Connection drawing

NCB

1

RS-232 port Configuration switches

Inputs

Outputs

Power connector

1

Network Control Bus. The protocol of this bus is equal, and compatible to the MIDI bus protocol.

Advertising