Manuals
Directory
ManualsDir.com
- online owner manuals library
Search
Directory
Brands
Thermo Pride manuals
Kiln
Gas/Propane Furnace Concentric Vent (CMA)
Manual
Thermo Pride Gas/Propane Furnace Concentric Vent (CMA) User Manual
Page 11
Text mode
Original mode
Advertising
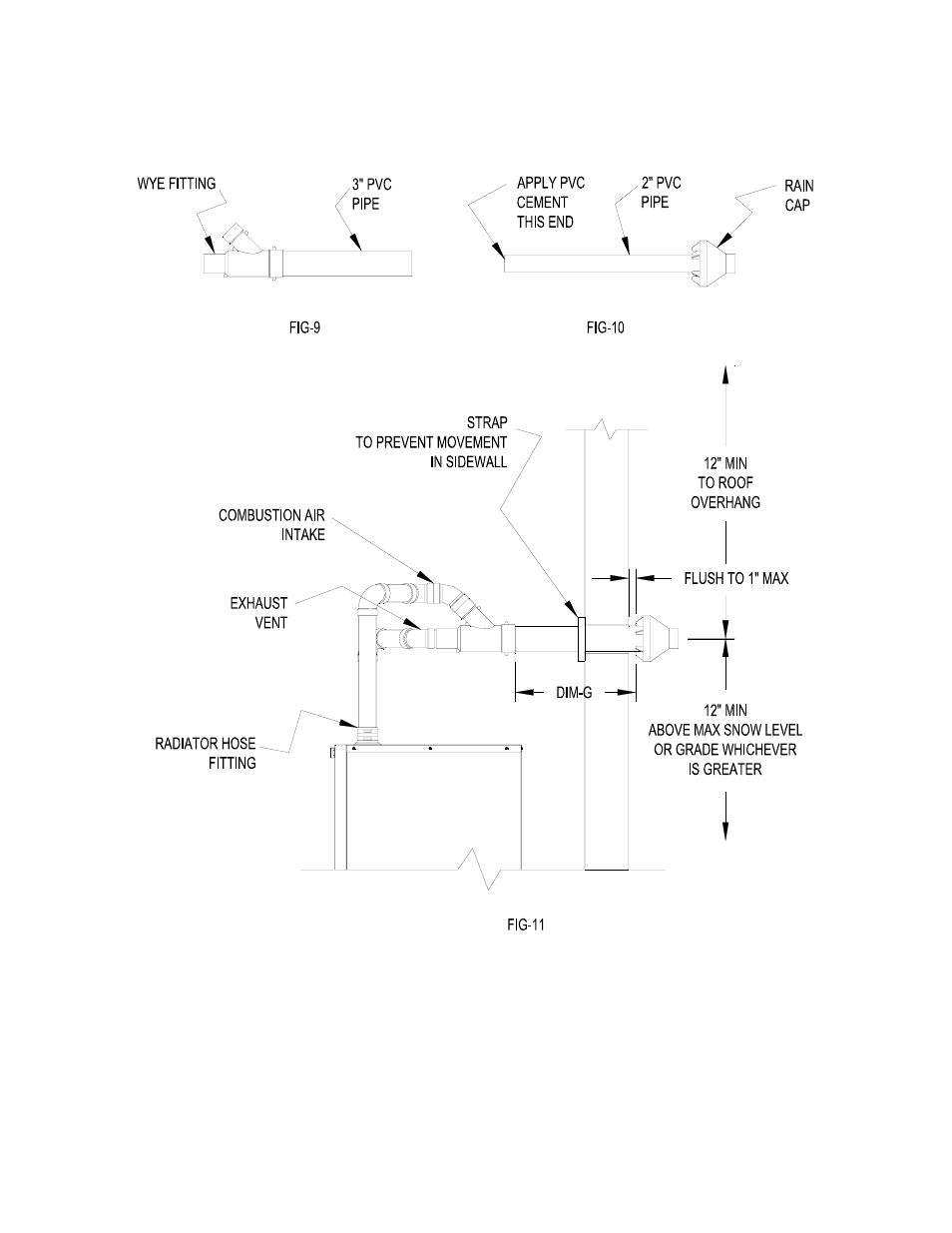
ALL INSTALLATIONS AND SERVICE MUST BE PERFORMED BY QUALIFIED SERVICE PERSONNEL.
- 11 -
Share
Pages:
1
…
8
9
10
11
12
13
Download
Complain
wrong Brand
wrong Model
non readable
Advertising
See also other documents in the category Thermo Pride Kiln:
Thermo Pace Downflow/Horizontal Furnace (CSA)
(32 pages)
Gas/Propane Furnace PGL
(38 pages)
Gas/Propane Furnace ECM CDX1
(11 pages)
Gas/Propane Furnace Premiere Series 2-Stage CDX3)
(65 pages)
Gas/Propane Furnace Induced Draft Highboy/Counterflow/Horizontal MDA1
(61 pages)
Gas/Propane Furnace Mobile Home CMC1
(64 pages)
Gas/Propane Furnace with ECM Blower CDX3
(15 pages)
Spirit Gas TG8S Single Stage PSC 80%
(32 pages)
Spirit Gas TG9S Single Stage PSC 95.5%
(42 pages)
Spirit Gas TP9C Modulating ECM 97.5%
(46 pages)