Pennco 3KW0.60 User Manual

Page 28

Advertising
background image

28

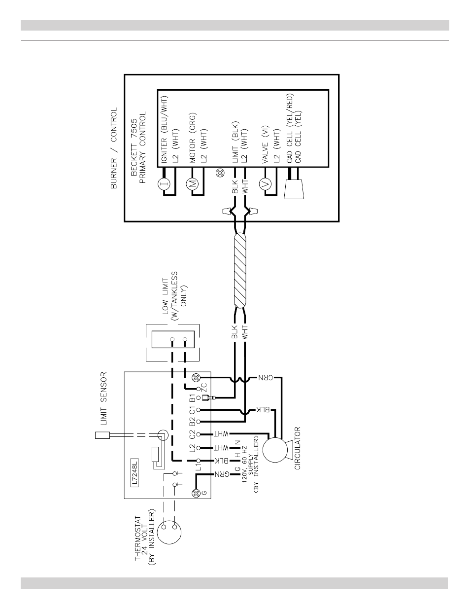
ELECTRICAL WIRING

Figure 16 -

Boiler Honeywell L7248L Control

*

* When low limit is used, set ELL par

ameter on L7248L Honeywell control to ON. Boilers factory equipped

with tankless coil are factory set to ON.

Advertising
This manual is related to the following products: