Pennco 3KW0.60 User Manual

Page 29

Advertising
background image

29

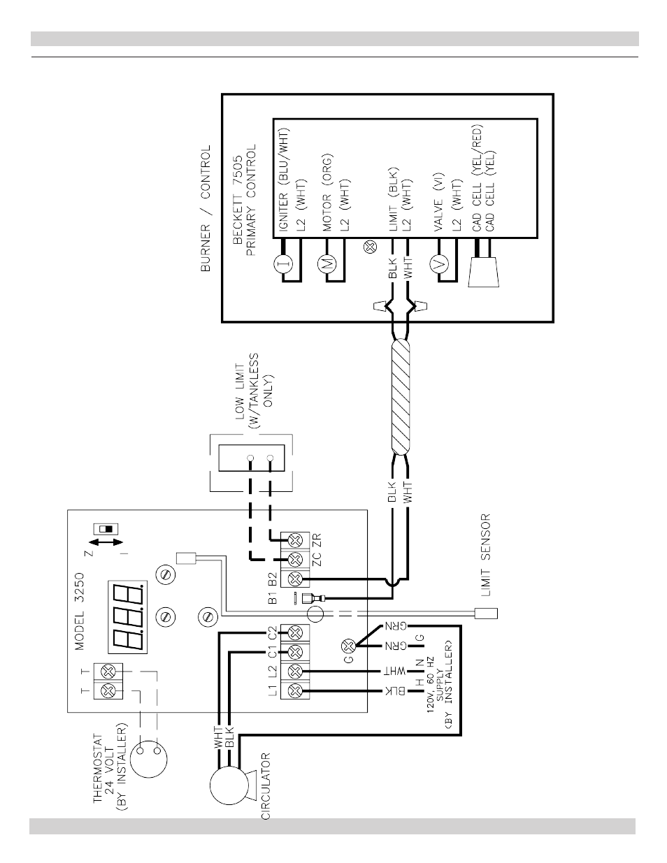
ELECTRICAL WIRING

Figure 17 -

Boiler With Hydrolevel 3250 Control

*

* When low limit is used, set Z

-l switch on 3250 Hy

drolev

el control to l position. Boilers factory equipped

with tankless coils are factory set to l position.

Advertising
This manual is related to the following products: