Noms des pièces – Eneo HDC-2080CS D User Manual

Page 23

Advertising
background image

23

FR

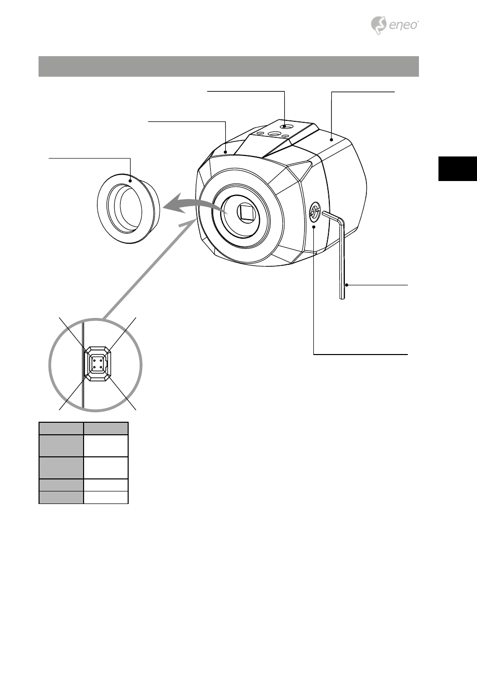
Noms des pièces

No.

DC Iris

1

Affaiblisse-
ment(-)

2

Affaiblisse-
ment(+)

3

Commande(+)

4

GND (terre)

Pas de vis (haut et bas)

Panneau arrière

Panneau avant

Capuchon de protection contre la poussière

Clé Torx

Réglage de la distance focale

PIN 1

PIN 2

PIN 3

PIN 4

Advertising
This manual is related to the following products: