Lumens Technology VC-G50 User Manual

Page 14

Advertising
background image

English

-

13

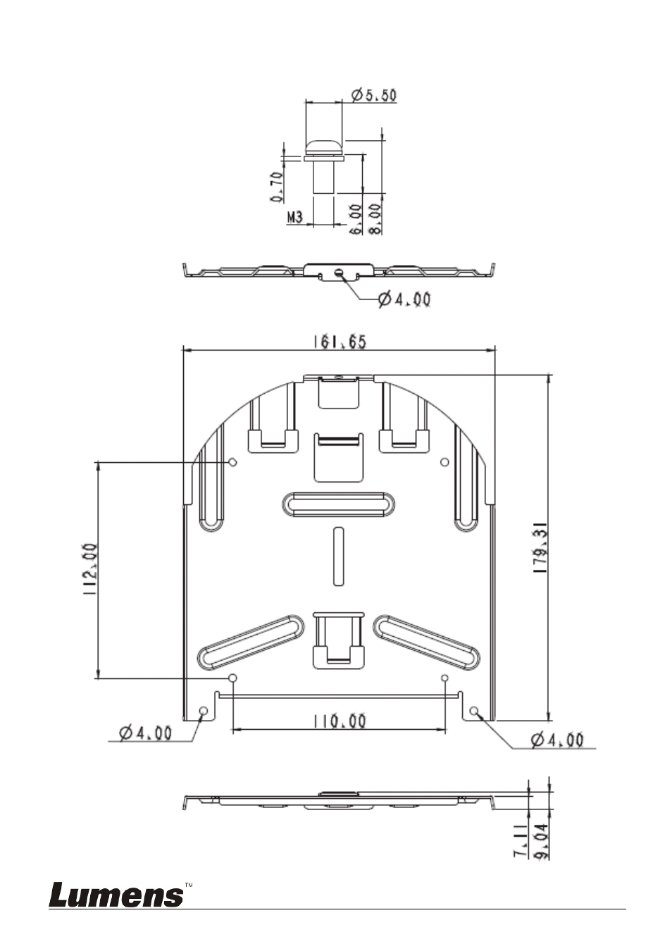
2. Metal plate A - machine side

Metal plate A - machine side

Metal plate A locking

screw

Advertising
This manual is related to the following products: