Overloud Gem Comp76 FET Compressor and Limiter Plug-In User Manual

Page 36

Advertising
background image

OVERLOUD GEMS

COMP LA

Transistors, on the other hand, can switch to high powers faster, so the 3A units had shorter at-
tack times and sounded more neutral and modern, by adding less harmonic distortion.

COMP LA

faithfully reproduces both models and additionally allows to control the amount of

added harmonics.

LIMIT / COMPRESS

- Changes the character of the compressor unit switching between a soften ac-

tion with lower compression ratio, for the

COMPRESS

position, and a higher compression ratio

with damped attack transients when set to the

LIMIT

position.

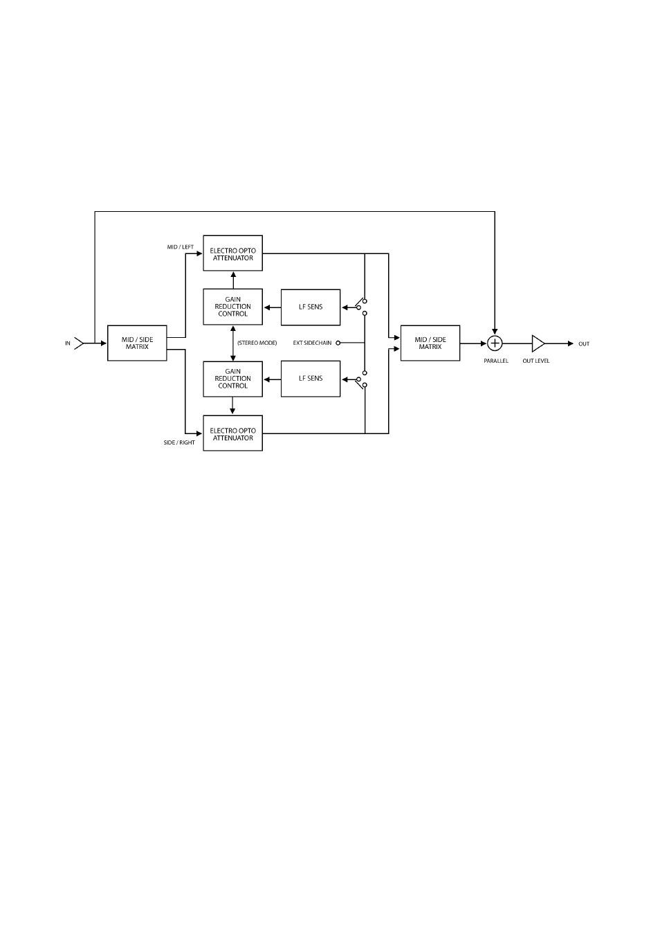
This diagram describes the

COMP LA

internal sections and the way they are interconnected.

GAIN

- The

GAIN

control does not a

ect the amount and quality of the compression. Its action ap-

plies at the

fi

nal stage of the compressor unit, more like a level control. By the way, when the

COMP LA

is set to

MID-SIDE

mode, and two di

erent compression rates are applied to two parts of

the input signal, both levels can be adjusted independently with the relatives

GAIN

controls.

VU-METER

- The VU-Meter can be used to see 4 di

erent measures: Input Level, Gain-Reduction,

Output Level and the amount of Harmonics added by the processor.

PEAK REDUCTION

- Adjusts the amount of compression to apply to the input signal by specifying

how much the peaks need to be reduced. A good way to operate is to

fi

rst

fi

nd a good setting

for this control and next to adjust the

GAIN

level.

TUBE (2A) / SOLID STATE (3A)

- Selects the original compressor model. 2A is a tube based compressor

while 3A is conceptually the same unit but working with transistors.

TUBE

provides slower com-

pression attack, mid range prominent frequencies and more harmonics, while

SOLID STATE

gives faster compression attack, a sort of “U” shaped frequency response and less harmonics.

IN LEVEL

- Controls the input level. It ranges from –15

 

dB to +15

 

dB.

STEREO / MID-SIDE

- Switches between the two working modes of the

COMP LA

. The normal mode is

STEREO, where the unit processes the two, left and right, stereo channels. When in MID/SIDE
mode, the stereo signal is split into MID and SIDE portions. MID portion is the center, mono part
of the stereo image – while the SIDE portion is the outside: the left and right sides of the stereo
image. When

COMP LA

is in MID/SIDE mode, these two components of the input signal are pro-

cessed separately. The upper interface works on MID, while the lower one works on SIDE.

34

Advertising