Flowserve NM User Manual

Page 37

Advertising
background image

NM USER INSTRUCTIONS ENGLISH 71576289 - 11/09

Page 37 of 48


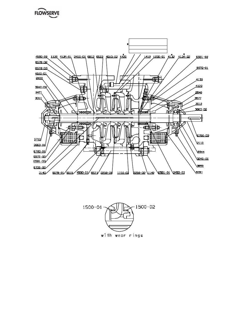
8.1.6 Pumps 32 NM, 40 NM



Pump with stuffing box
pressure drop
32 NM 11 and 12 stages
40 NM 8 and 10 stages

Advertising
This manual is related to the following products: