Alinco DJ-V57 User Manual

Page 70

Advertising
background image

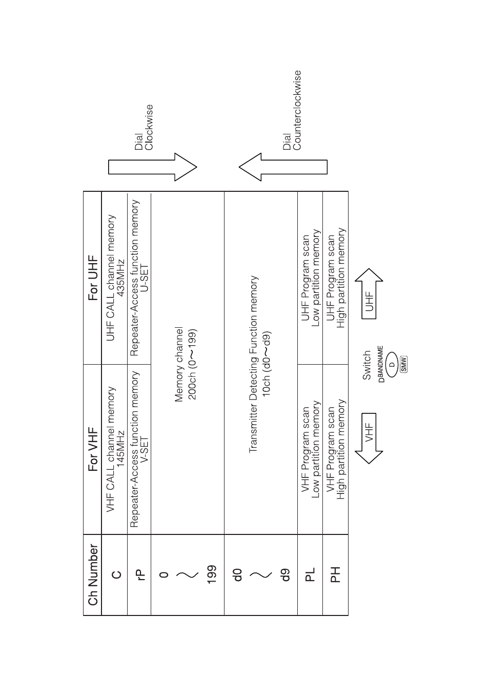
Memory Mode Structure

Advertising
This manual is related to the following products: