One Systems PT-10 User Manual
Page 20
Advertising

One Systems, Inc. 6204 Gardendale Dr., Nashville, TN 37215
20
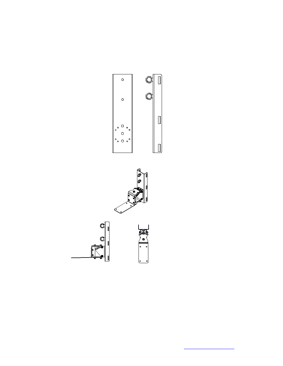
PT-30
The PT-30 consists of three parts: the pole bracket, the loudspeaker bracket, and the
Link. The PT-30 pole bracket is shown below.
Views of the PT-30
NOTE: There are three M8 forged shoulder eyebolts supplied with the PT-30. Make
sure that two of them are mounted to the PT-30 back plate as shown above BEFORE
attempting to mount the PT-30 assembly to a pole structure!
Advertising