Basler Electric BE1-851 User Manual

Page 170

Advertising
background image





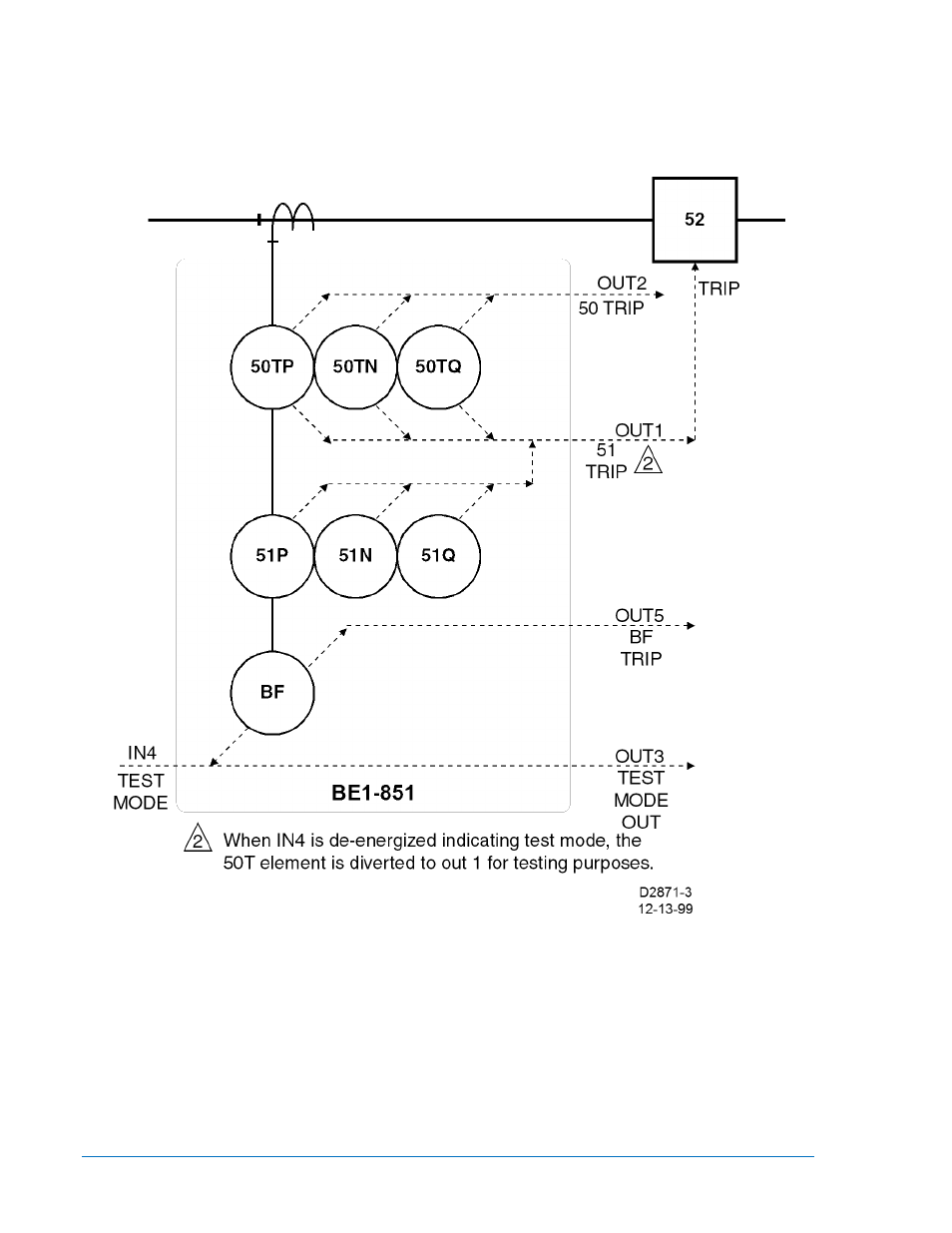
Figure 8-3. Typical One-Line Diagram for Feeder_1 Logic

8-14

BE1-851 Application

9289900990 Rev R

Advertising